Доброго времени суток уважаемые читатели. В этой статье мы будем разбирать основные типы двигателей Скания с 2003 года. Их обозначения, основные отличия. Будем классифицировать двигатели по типу топливной системы, питания воздухом и системам нейтрализации отработавших газов. Scania выпускает двигатели дизельные двигатели объемом 9,11,12,13,16 литров. Это рядные пятерки, шестерки или V- образная восьмерка. Обозначаются эти двигатели DC 9,11,12,13,16 соответственно. Что расшифровывается, как D - дизельный двигатель, С - двигатель с наддувом и интеркуллером, 9 - объем 9 литров. Если есть в обозначении буква T, т.е. DTC 9, то на данном автомобиле применен турбокомпаунд. Начнем классификацию по виду топливной системы, установленной на ДВС. Компания Scania с 2003 года ставит 4 типа систем: XPI, PDE, HPI, GAS.
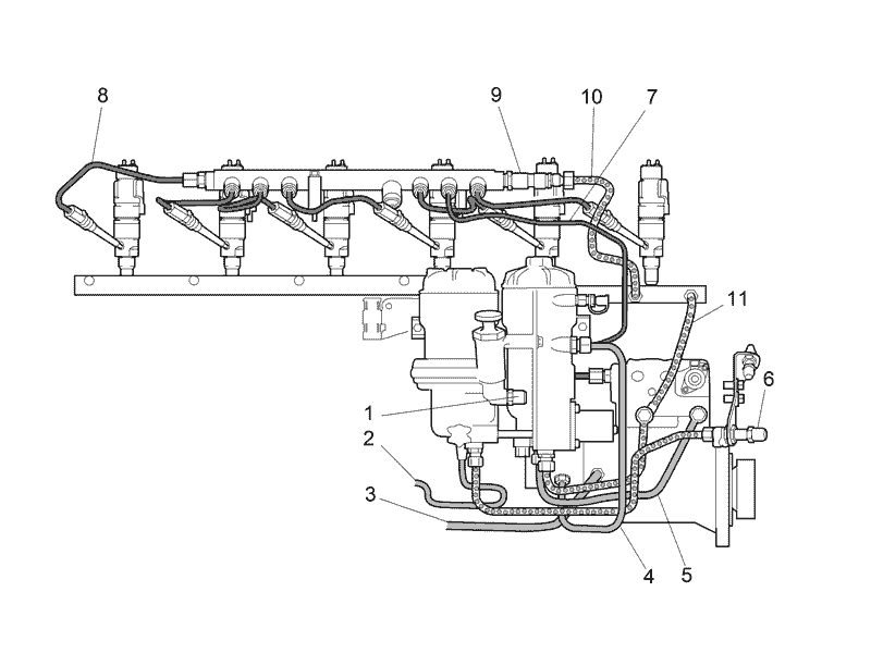
1) Топливная система PDE.

Основные компоненты:
1 - топливоподкачивающий насос.
2 - фильтр.
3 - топливная рампа.
4 - ручной подкачивающий насос.
5 - регулятор давления топлива.
Топливоподкачивающий насос забирает топливо из бака и нагнетает топливо через фильтр в топливную рампу. На топливоподкачивающем насосе имеется ручной насос. Ручной насос используется для удаления воздуха из топливной системы. На топливной рампе имеется регулятор давления. Регулятор давления поддерживает давление топлива постоянным. Если давление топлива становится слишком высоким, регулятор давления открывается и перепускает часть топлива в бак. Топливная рампа распределяет топливо между всеми насос-форсунками двигателя. Блок управления двигателем управляет моментом впрыска топлива в цилиндры двигателя и временем впрыска. Управления происходит за счет форсунок с электромагнитным клапаном.
2) Топливная система HPI.

Компоненты системы:
1 -Топливоподкачивающий насоc.
2 - Топливный фильтр.
3 - Корпус клапана.
4 -Топливная рампа.
5 - Предохранительный клапан.
6 - Электромагнитные клапаны цикловой подачи топлива.
7 - Электромагнитные клапаны опережения впрыска.
8 - Клапан отсечки топлива.
9 - Демпфер давления.
Перепускной клапан поддерживает постоянное давление в топливной системе. Давление топлива при частоте вращения холостого хода должно составлять приблизительно 14,5 бар. Блок управления двигателем - это система электронного управления, которая управляет тем, сколько топлива насос-форсунка должна впрыснуть в цилиндр, и тем, когда насос-форсунка должна впрыскивать топливо. Топливо для впрыска в цилиндры и топливо для регулирования опережения впрыска, поступающее в насос-форсунки, регулируется электромагнитными клапанами. Два электромагнитных клапана регулируют цикловую подачу топлива, и два электромагнитных клапана регулируют топливо для регулирования опережения впрыска – по одному электромагнитному клапану каждого типа на соответствующий ряд цилиндров. Длительность управляющего импульса (т.е. продолжительность открытого состояния электромагнитного клапана) определяет объем топлива, поступающий в насос-форсунку. Давление топлива поддерживается постоянным, а длительность фазы регулируется. Длительность импульса задается блоком управления двигателем. Блок управления двигателем компенсирует проявления неравномерности в работе двигателя. Блок управления выполняет функцию мозга системы управления двигателем. Блок управления двигателем обрабатывает как сигналы от датчиков и устройств, входящих в систему EDC, так и данные, получаемые от блоков управления других систем автомобиля. Когда блок управления двигателем обработает эту информацию, он посылает сигналы электромагнитным клапанам, которые, в свою очередь, управляют подачей топлива к насос-форсункам и опережением впрыска (альфа). Блок управления двигателем компенсирует количество топлива за счет ускорения маховика. Однако блок управления двигателем не может определять правильность задания опережения впрыска (альфа).
3) Топливная система XPI.

Топливоподкачивающий насос забирает топливо из бака. Топливо поступает в соединение 1 и прокачивается через всасывающий фильтр. Из всасывающего фильтра топливо поступает в охладитель блока управления через топливный трубопровод 2, а затем из охладителя блока управления подается в подкачивающий насос через топливный трубопровод 3. Подкачивающий насос поднимает давление топлива до примерно 9-12 бар и подает топливо через напорный фильтр и топливопровод 4. От напорного фильтра топливо подается через топливопровод 5 к впускному клапану дозирования топлива, установленному на топливном насосе высокого давления. Впускной клапан дозирования топлива регулирует количество топлива, подаваемого в топливный насос высокого давления, при поступлении соответствующего запроса от блока управления двигателем. Насос высокого давления нагнетает давление до максимального значения 3000 бар. Топливо поступает в накопитель через трубопровод высокого давления 7. Трубопровод высокого давления 8 проходит от накопителей к соединительным штуцерам, благодаря чему обеспечена подача топлива к форсункам. Когда на электромагнитный клапан в форсунке подается питание, форсунка открывается, и топливо впрыскивается в цилиндр. Топливная система работает под высоким давлением и поэтому важно, чтобы в топливе на стороне высокого давления не было воды. Вода вызывает коррозию и повреждение элементов топливной системы, и из-за жестких допусков в системе происходит повреждение элементов. Чтобы исключить присутствие воды в топливной системе на стороне высокого давления, вода отделяется во всасывающем фильтре и возвращается в топливный бак по трубопроводу 6. На накопителе предусмотрен предохранительный клапан 9, который открывается, если возникает неисправность в топливной системе, приводящая к чрезмерно высокому давлению топлива. Предохранительный клапан открывается при давлении 3 000 бар и понижает давление топлива до 1 000 бар, а затем регулирует давление топлива в диапазоне 1 000 ± 300 бар. Когда предохранительный клапан открывается, топливо возвращается через трубопровод 10. Топливо, отбираемое через предохранительный клапан, нагревает трубопровод, расположенный после предохранительного клапана. Излишек топлива от форсунок возвращается из топливной рампы в топливный бак через трубопровод 11.
Осталась еще топливная система GAS, она характеризуется наличием системы зажигания и, как становится понятно из названия, работает на метане. Ее подробно описывать не имеет смысла т.к. таких автомобилей в принципе и нет в Р.Ф. Если вы ищите, где сделать диагностику и ремонт Scania, вам сюда. Как мы делаем диагностику узнайте, тут.
